通しダイアフラムの幅と仕口フランジの幅が同じ設計図がありますが、通しダイアフラムの幅と仕口フランジの幅が同じの場合、大丈夫なのでしょうか。(図1参照)。

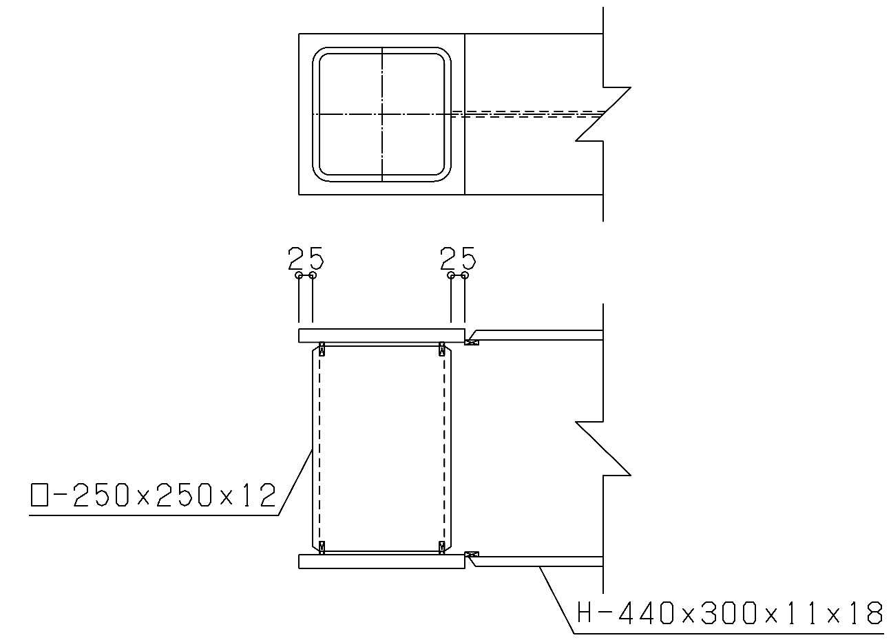
また、絞り柱で通しダイアフラムからフランジが出てしまった場合は通しダイアフラムの出寸法を50mmとし製作する事は可能でしょうか(図2参照)。

まずは構造設計者に現状を伝えて、構造的に問題ないかどうかの確認を求めることが必要であると思われます。
現行の建築基準法では梁降伏先行型とすることが推奨されていますので、柱幅と同じかそれより大きくなるフランジ幅をもつ梁が取り合うことは少ないと思われます。しかし、意匠からの要求等で部分的に梁せいを小さくする必要が生じるなどのケースが多々あり、ご質問のような状況が発生すると思われます。
図1及び図2に示されるディテールの場合、梁フランジがダイアフラムに取り合っていれば、フランジの引張力はダイアフラムに伝達されますので、問題ないと考えられます。
なお、図2における場合において、外壁などの仕上げ材と干渉しない範囲で図3に示すように大梁心を上階側柱心に合わせることを施工者及び設計・監理者に承認・承諾頂ければ、下階側大梁フランジはダイアフラムに納まりやすいと思います。また、伝達された後の、柱梁接合部パネルの耐力につきましては、構造設計者が判断することであると思います。

Supporting Association for Building Steel Structural Technology All Rights Reserved.